Запасные части ЧТЗ Запасные части ЧТЗ
Казань
Например:
Актобе
Алдан
или
Выбрать автоматически
Актобе
Алдан
Алматы
Алчевск
Архангельск
Астана
Астрахань
Атырау
Баку
Балашиха
Барнаул
Белгород
Бердянск
Бишкек
Владивосток
Владикавказ
Воркута
Воронеж
Горловка
Грозный
Донецк
Екатеринбург
Иваново
Ижевск
Иркутск
Казань
Калининград
Каменск-Уральский
Караганда
Каховка
Кемерово
Киров
Комсомольск-на-Амуре
Костанай
Краснодар
Красноярск
Красный луч
Ленск
Луганск
Магадан
Магнитогорск
Макеевка
Махачкала
Мелитополь
Минск
Мирный (Якутия)
Москва
Мурманск
Нерюнгри
Нижневартовск
Нижний Новгород
Нижний Тагил
Новая каховка
Новокузнецк
Новосибирск
Новый Уренгой
Норильск
Ноябрьск
Нур-Султан
Омск
Оренбург
Ош
Павлодар
Пермь
Петрозаводск
Петропавловск
Петропавловск-Камчатский
Псков
Ростов-на-Дону
Салехард
Самара
Санкт-Петербург
Саратов
Севастополь
Семей
Симферополь
Сочи
Ставрополь
Сургут
Сыктывкар
Тараз
Ташкент
Токмак
Томск
Тында
Тюмень
Ульяновск
Усинск
Усть-Каменогорск
Уфа
Хабаровск
Ханты-Мансийск
Херсон
Челябинск
Чита
Шымкент
Экибастуз
Энергодар
Южно-Сахалинск
Якутск
Ваш город
Казань
Войти
Запасные части к тракторам на одном сайте
+7 (932) 303-00-10
+7 (932) 303-00-10
г. Казань, ул. Аделя Кутуя, д. 151
Пн-Пт: 9:30-18:30 Cб-Вс: Выходной
Отправить заявку


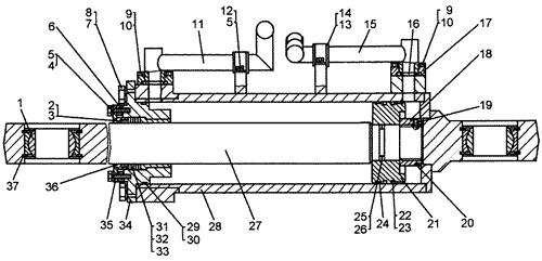
Гидроцилиндр 749-72-233СП, 749-72-233-01СП на ДЭТ-320Б1Р2 ЧТЗ


/
с НДС 20%
Описание
Гидроцилиндр 749-72-233СП, 749-72-233-01СП
Поз.ОбозначениеНаименованиеКол-во
1ШСЛ-80Подшипник 2
2749-72-259Чистик16
3749-72-259-01Чистик8
4М12-6gх35.58.019Болт 12
5120Т 65Г 09Шайба 16
6749-72-261Шайба регулировочная78
7М24-8gх65.58.019Болт 12
8240Т 65Г 09Шайба 12
9М14-6gх50.58.019Болт 8
10140Т 65Г 09Шайба 8
11749-72-239СП
749-72-238СП
Маслопровод1
12М12-6gх20.58.019Болт 4
13749-72-366Хомут2
14749-72-367Втулка2
15749-72-249СП
749-72-250СП
Маслопровод1
16040-048-46-2-2Кольцо 2
17749-72-368Полуфланец4
18749-72-267Гайка1
19749-72-268Винт1
20749-72-264Кольцо защитное1
21749-72-375Поршень1
22749-72-377Кольцо2
23180-190-58-2-2Кольцо 2
24749-72-378Втулка2
25079-085-36-2-2Кольцо 1
26749-72-263
749-72-263-01
Кольцо распорное2
27749-72-257-01Шток1
28749-72-234СПКорпус1
29749-72-376Кольцо распорное1
30Кольцо 190-200-58-2-21
31К0100x125-2Кольцо опорное 1
32М100x125-2Манжета 3
33КН 100x125-2Кольцо нажимное 1
34749-72-237СПКрышка1
35749-72-258Скребок1
36749-72-269Втулка1
37В125 Ц9ХрКольцо 4
Гидроцилиндр 749-72-233СП, 749-72-233-01СП