Запасные части ЧТЗ Запасные части ЧТЗ
Казань
Например:
Актобе
Алдан
или
Выбрать автоматически
Актобе
Алдан
Алматы
Алчевск
Архангельск
Астана
Астрахань
Атырау
Баку
Балашиха
Барнаул
Белгород
Бердянск
Бишкек
Владивосток
Владикавказ
Воркута
Воронеж
Горловка
Грозный
Донецк
Екатеринбург
Иваново
Ижевск
Иркутск
Казань
Калининград
Каменск-Уральский
Караганда
Каховка
Кемерово
Киров
Комсомольск-на-Амуре
Костанай
Краснодар
Красноярск
Красный луч
Ленск
Луганск
Магадан
Магнитогорск
Макеевка
Махачкала
Мелитополь
Минск
Мирный (Якутия)
Москва
Мурманск
Нерюнгри
Нижневартовск
Нижний Новгород
Нижний Тагил
Новая каховка
Новокузнецк
Новосибирск
Новый Уренгой
Норильск
Ноябрьск
Нур-Султан
Омск
Оренбург
Ош
Павлодар
Пермь
Петрозаводск
Петропавловск
Петропавловск-Камчатский
Псков
Ростов-на-Дону
Салехард
Самара
Санкт-Петербург
Саратов
Севастополь
Семей
Симферополь
Сочи
Ставрополь
Сургут
Сыктывкар
Тараз
Ташкент
Токмак
Томск
Тында
Тюмень
Ульяновск
Усинск
Усть-Каменогорск
Уфа
Хабаровск
Ханты-Мансийск
Херсон
Челябинск
Чита
Шымкент
Экибастуз
Энергодар
Южно-Сахалинск
Якутск
Ваш город
Казань
Войти
Запасные части к тракторам на одном сайте
+7 (932) 303-00-10
+7 (932) 303-00-10
г. Казань, ул. Аделя Кутуя, д. 151
Пн-Пт: 9:30-18:30 Cб-Вс: Выходной
Отправить заявку


Схема системы смазки


/
с НДС 20%
Описание
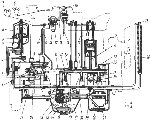
Система смазки (продольный разрез) двигателя Д-160 >
Рис. 15. Схема системы смазки дизеля (продольный разрез)
1 – вход в главную масляную магистраль
2 – клапан перепускной
3 – клапан предохранительный
4 – трубка отвода очищенного масла из центрифуги
5 – жиклеры реактивного привода центрифуги
6 – центрифуга
7 – приемник указателя давления масла
8 – сигнальная лампа минимального давления масла в ТКР
9 – датчик давления масла на входе в главную масляную магистраль
10 – окно слива масла в картер
11 – плита маслораспределительная
12 – каналы подвода масла к коренным подшипникам
13 – магистраль главная масляная
14 – трубка подвода масла к фильтру турбокомпрессора
15 – трубка подвода масла к валику коромысел
16 – фильтр турбокомпрессора
17 – клапан фильтра турбокомпрессора перепускной
18 – трубка подвода масла к турбокомпрессору
19 – трубка слива масла из турбокомпрессора
20 – датчик аварийного давления масла в турбокомпрессоре
21 – канал подвода масла к верхней головке шатуна
22 – канал подвода масла к переднему подшипнику распределительного вала
23 – канал подвода масла к большой паразитной шестерне
24 – канал подвода масла к шатунным подшипникам
25, 27, 29 – пробки
26 – радиатор масляный
28 – маслоприемник передний
30 – полость центробежной очистки масла в шатунной шейке
31 – резервуар картера
32 – насос масляный
33 – пробка магнитная
34 – маслоприемник центральный
35 – клапан предохранительный
36 – отверстие для слива масла из откачивающей секции масляного насоса
37 – маслоприемник задний
а – масло, не прошедшее очистку
b – очищенное масло.

Система смазки (поперечный разрез) двигателя Д-160
Рис. 16. Схема системы смазки (поперечный разрез)
1 – линейка масломерная
2 – канал подвода масла к уравновешивающему механизму
3 – канал подвода масла к малой промежуточной шестерне
4 – канал подвода масла к регулятору дизеля
5 – канал подвода масла к переднему подшипнику распределительного вала
6 – трубка подвода масла к валику коромысел
7 – магистраль главная масляная
8 – канал подвода масла к большой паразитной шестерне
9 – канал подвода масла к коренным подшипникам коленчатого вала
10 – механизм уравновешивающий.

Система смазки дизеля (рис. 15, 16) комбинированная: к трущимся поверхностям смазка подводится под давлением и разбрызгиванием. От шестеренчатого насоса масло поступает к коренным и шатунным подшипникам коленчатого вала, переднему подшипнику распределительного вала, механизму газораспределения, подшипникам промежуточных шестерен, вертикального валика регулятора, турбокомпрессора и уравновешивающего механизма. От шатунных подшипников масло по каналам в шатунах поступает к втулке верхней головки шатуна и через каналы в верхней головке впрыскивается на днище поршня, охлаждая его.

Остальные сборочные единицы и детали смазываются разбрызгиванием.

Масляный насос шестеренчатый трехсекционный с двумя нагнетательными и одной откачивающей секциями. При работе дизеля основная и передняя нагнетательные секции подают масло из центрального и переднего маслосборников картера в магистраль, а откачивающая секция перекачивает масло из задней части картера в центральный маслосборник.

Охлаждается масло в трубчатом радиаторе, очищается в полнопоточной реактивной центрифуге. Имеется дополнительный масляный фильтр турбокомпрессора с сетчатым фильтрующим элементом.
Схема системы смазки