Запасные части ЧТЗ Запасные части ЧТЗ
Казань
Например:
Актобе
Алдан
или
Выбрать автоматически
Актобе
Алдан
Алматы
Алчевск
Архангельск
Астана
Астрахань
Атырау
Баку
Балашиха
Барнаул
Белгород
Бердянск
Бишкек
Владивосток
Владикавказ
Воркута
Воронеж
Горловка
Грозный
Донецк
Екатеринбург
Иваново
Ижевск
Иркутск
Казань
Калининград
Каменск-Уральский
Караганда
Каховка
Кемерово
Киров
Комсомольск-на-Амуре
Костанай
Краснодар
Красноярск
Красный луч
Ленск
Луганск
Магадан
Магнитогорск
Макеевка
Махачкала
Мелитополь
Минск
Мирный (Якутия)
Москва
Мурманск
Нерюнгри
Нижневартовск
Нижний Новгород
Нижний Тагил
Новая каховка
Новокузнецк
Новосибирск
Новый Уренгой
Норильск
Ноябрьск
Нур-Султан
Омск
Оренбург
Ош
Павлодар
Пермь
Петрозаводск
Петропавловск
Петропавловск-Камчатский
Псков
Ростов-на-Дону
Салехард
Самара
Санкт-Петербург
Саратов
Севастополь
Семей
Симферополь
Сочи
Ставрополь
Сургут
Сыктывкар
Тараз
Ташкент
Токмак
Томск
Тында
Тюмень
Ульяновск
Усинск
Усть-Каменогорск
Уфа
Хабаровск
Ханты-Мансийск
Херсон
Челябинск
Чита
Шымкент
Экибастуз
Энергодар
Южно-Сахалинск
Якутск
Ваш город
Казань
Войти
Запасные части к тракторам на одном сайте
+7 (932) 303-00-10
+7 (932) 303-00-10
г. Казань, ул. Аделя Кутуя, д. 151
Пн-Пт: 9:30-18:30 Cб-Вс: Выходной
Отправить заявку


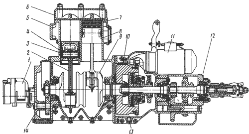
Пусковой двигатель ПД-23У


/
с НДС 20%
Описание
Пусковой двигатель П-23У (продольный разрез) двигателя Д-160
Рис. 20. Пусковой двигатель П-23У (продольный разрез)
1 – магнето;
2 – шатун;
3 – заглушка;
4 – палец;
5 – блок – картер;
6 – головка блока цилиндров;
7 – кольцо поршневое;
8 – поршень;
9 – вал коленчатый;
10 – муфта сцепления;
11 – стартер;
12 – редуктор;
13 – пробка;
14 – корпус шестерен распределения.

Пусковой двигатель П-23У (поперечный разрез) двигателя Д-160
Рис. 21. Пусковой двигатель П-23У (поперечный разрез)
1, 14, 26 – крышки;
2 – элемент фильтрующий;
3 – корпус;
4 – маслоотражатель;
5 – воздухоочиститель;
6 – рычаг воздушной заслонки;
7 – карбюратор;
8 – винт ограничения хода дроссельной заслонки;
9 – винт регулирования качества горючей смеси;
10 – рычаг дроссельной заслонки;
11 – коллектор;
12 – втулка клапана;
13 – фильтр подсасывающий;
15 – болт регулировочный;
16 – контргайка;
17 – толкатель клапана;
18 – механизм проворачивания;
19 – масломерная линейка пускового двигателя;
20 – вал распределительный;
21 – масломерная линейка редуктора;
22 – пробка;
23 – клапан;
24 – провод;
25 – свеча зажигания;
27 – поплавок;
28 – язычок;
29 – ограничитель хода поплавка;
30 – ось поплавка;
31 – игла клапана;
32 – корпус клапана;
33 – шайба клапана;
А = 0,2-0,25 мм,
В = 29 мм,
С = 1,2-1,5 мм,
D = по уровню нижней кромки маслоотражателя.

Пуск дизеля осуществляется при помощи пускового двигателя 17-23сп. Пусковой двигатель (рис. 20, 21) установлен с левой стороны дизеля.

Пусковой двигатель состоит из блока цилиндров с картером и головкой, кривошипно-шатунного и газораспределительного механизмов и систем: охлаждения, смазки, питания, зажигания и силовой передачи, состоящей из муфты сцепления и редуктора с механизмом включения.

Центробежный регулятор пускового двигателя автоматически регулирует количество смеси, поступающей в цилиндры, ограничивает максимальную частоту вращения холостого хода пускового двигателя. Воздухоочиститель масляно-инерционный с фильтром из капроновой щетины.

Система охлаждения общая с дизелем. Охлаждающая жидкость, нагревающаяся при работе пускового двигателя, обеспечивает частичный прогрев дизеля при пуске.При пуске дизеля крутящий момент пускового двигателя через муфту сцепления, двухступенчатый редуктор, шестерню привода механизма включения и маховик дизеля передается на коленчатый вал.

Пускают пусковой двигатель электрическим стартером.

Электрооборудование пускового двигателя

На двигатель устанавливаются стартер, магнето, свечи зажигания, обеспечивающие пуск и работу пускового двигателя.

Стартер двигателя Д-160
Рис. 22. Стартер
1 – крышка со стороны привода;
2 – втулка подшипника;
3 – кольцо упорное;
4 – шестерня привода;
5 – муфта свободного хода;
6 – пружина;
7 – винт упорный;
8 – муфта включения привода;
9 – ось рычага;
10 – винт регулировочный;
11 – обмотка якоря;
12 – рычаг включения;
13 – плунжер;
14 – корпус включателя;
15 – крышка включателя;
16 – пружина контактного диска;
17 – диск контактный;
18 – пружина плунжера;
19 – болт-клемма для подсоединения от аккумуляторной батареи;
20 – втулка изоляционная;
21 – болт контактный;
22 – коллектор;
23 – вывод щетки;
24 – щеткодержатель;
25 – щетка;
26 – пружина щетки;
27 – кожух;
28 – кольцо уплотнительное;
29 – болт стяжной;
30 – крышка со стороны коллектора;
31 – штифт установочный;
32 – обмотка возбуждения;
33 – башмак стартера;
34 – якорь;
35 – корпус;
36 – диск промежуточного подшипника;
37 – штифт установочный;
38 – кольцо замковое;
39 – шайба упорная;
40 – вал якоря.

Стартер СТ-230Е (рис. 22) - сериесный электродвигатель постоянного тока (12 В), последовательного возбуждения с рычагом включения и муфтой свободного хода служит для пуска двигателя.

Магнето двигателя Д-160
Рис. 23. Магнето
1 – винт крепления стойки;
2 – контакт неподвижный;
3 – стойка;
4 – контакт подвижный;
5 – эксцентрик;
6 – фильц;
7 – втулка кулачка прерывателя;
8 – паз;
9 – собачкодержатель;
10 – трансформатор;
11 – конденсатор;
12 – дополнительный вывод высокого напряжения;
13 – крышка экрана;
14 – экран;
15 – бегунок;
16 – крышка распределителя;
17 – пластина прерывателя;
18 – крышка корпуса магнето;
19 – ротор;
20 – корпус магнето;
21 – ускоритель пусковой;
22 – пружина спиральная.

Магнето М-149А1 (рис. 23) левого вращения двухискровое с пусковым ускорителем, трехвыводное. Два вывода подключаются к свечам зажигания. К третьему дополнительному выводу можно подключить свечу предпускового подогревателя воздуха. Магнето имеет клемму для дистанционного выключения зажигания.

Свечи зажигания искровые неразборные с керамической изоляцией предназначены для зажигания рабочей смеси в цилиндрах пускового двигателя с помощью искрового разряда между электродами свечи.
Пусковой двигатель ПД-23У