Запасные части ЧТЗ Запасные части ЧТЗ
Казань
Например:
Актобе
Алдан
или
Выбрать автоматически
Актобе
Алдан
Алматы
Алчевск
Архангельск
Астана
Астрахань
Атырау
Баку
Балашиха
Барнаул
Белгород
Бердянск
Бишкек
Владивосток
Владикавказ
Воркута
Воронеж
Горловка
Грозный
Донецк
Екатеринбург
Иваново
Ижевск
Иркутск
Казань
Калининград
Каменск-Уральский
Караганда
Каховка
Кемерово
Киров
Комсомольск-на-Амуре
Костанай
Краснодар
Красноярск
Красный луч
Ленск
Луганск
Магадан
Магнитогорск
Макеевка
Махачкала
Мелитополь
Минск
Мирный (Якутия)
Москва
Мурманск
Нерюнгри
Нижневартовск
Нижний Новгород
Нижний Тагил
Новая каховка
Новокузнецк
Новосибирск
Новый Уренгой
Норильск
Ноябрьск
Нур-Султан
Омск
Оренбург
Ош
Павлодар
Пермь
Петрозаводск
Петропавловск
Петропавловск-Камчатский
Псков
Ростов-на-Дону
Салехард
Самара
Санкт-Петербург
Саратов
Севастополь
Семей
Симферополь
Сочи
Ставрополь
Сургут
Сыктывкар
Тараз
Ташкент
Токмак
Томск
Тында
Тюмень
Ульяновск
Усинск
Усть-Каменогорск
Уфа
Хабаровск
Ханты-Мансийск
Херсон
Челябинск
Чита
Шымкент
Экибастуз
Энергодар
Южно-Сахалинск
Якутск
Ваш город
Казань
Войти
Запасные части к тракторам на одном сайте
+7 (932) 303-00-10
+7 (932) 303-00-10
г. Казань, ул. Аделя Кутуя, д. 151
Пн-Пт: 9:30-18:30 Cб-Вс: Выходной
Отправить заявку


Ремонт поддерживающих катков Т-170 Б-170 трактора в Казани


/
с НДС 20%
Описание

Установка поддерживающего катка трактора Т-170.01

Рис. 284. Установка поддерживающего катка трактора Т-170.01

На тракторе Т-170.01 в качестве поддерживающих катков применяются опорные катки 3 (рис. 284), которые устанавливаются своими крышками на кронштейне 2, закрепленном на тележке гусеницы. Момент затяжки болтов 1 крепления кронштейна к раме тележки 220...280 Н-м (22...28 кгс • м).

Установка поддерживающего катка трактора Т-170.00

Рнс. 285. Установка поддерживающего катка трактора Т-170.00

На тракторе Т-170.00 применяются поддерживающие катки 2 ( рис. 285 ) такие же, как на тракторе Т-130М.

Снятие поддерживающего катка Т-170

Ослабьте натяжение гусеницы. Положите между гусеницей и ведущим колесом деревянный брусок. Подавайте трактор назад до тех пор, пока гусеница не поднимется над задним катком. Отверните четыре болта крепления заднего поддерживающего катка и снимите его. Масса катка 35,6 кг. Ослабьте болты 1 крепления переднего поддерживающего катка 2. Подайте вилы автопогрузчика под верхнюю ветвь гусеницы сзади переднего поддерживающего катка. Поднимайте гусеницу автопогрузчиком до тех пор, пока звенья гусеницы не будут выше реборд катка. Отверните четыре болта крепления катка и снимите его.

Разборка поддерживающего катка Т-170

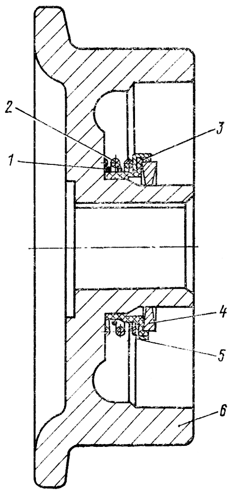
Каток поддерживающий трактора Т-170.00

Рис. 286. Каток поддерживающий трактора Т-170.00

Отверните пробку 10 ( рис. 286 ) и слейте масло. Отверните гайки 7 крепления роликов 2 на оси 6. Снимите с оси съемником ролики. Выбейте шпонки 8.

Ролик поддерживающего катка

Рис. 287. Ролик поддерживающего катка

Снимите со ступицы роликов 6 ( рис. 287 ) кольца 4 торцового уплотнения. Снимите манжеты 3 с пружинными кольцами 1, пружины 2 и обоймы 5. Выньте из крышек 9 ( см. рис. 286 ) вторые кольца 4 торцового уплотнения и прокладку 3.

Примечание. Кольца торцового уплотнения свяжите, чтобы при сборке поставить их притертыми в процессе работы поверхностями в прежнее положение.

Отверните болты крепления крышек 9 и снимите крышки. Снимите с оси и с подшипников уплотнительные кольца 5 и 11.

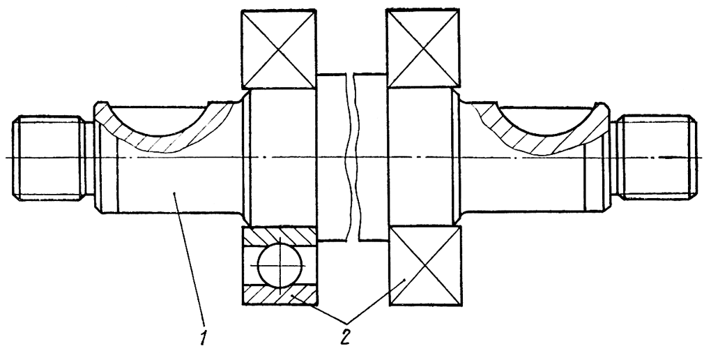
Ось поддерживающего катка с подшипниками

Рнс. 288. Ось поддерживающего катка с подшипниками

Выпрессуйте ось 6 с подшипниками из отверстия кронштейна 1 съемником или прессом. Спрессуйте съемником подшипник 2 ( рис. 288 ) с шеек оси 1.

Технические требования поддерживающего катка

  1. Нормальный диаметр беговой дорожки 182 мм. Допустимый диаметр 175 мм. Нормальная толщина бурта 20 мм. Допустимая толщина бурта 17 мм.

  2. Нормальный натяг в сопряжении шарикоподшипников с осью должен быть в пределах 0,009...0,039 мм. Допустимый зазор 0,01 мм. Предельный зазор 0,12 мм.

  3. Нормальный зазор в сопряжении кронштейна с подшипниками Должен быть в пределах 0,0...0,05 мм. Допустимый зазор 0,12 мм. Предельный зазор 0,25 мм.

Сборка поддерживающего катка Т-170

При сборке катка все трущиеся поверхности смажьте трансмиссионным маслом. Напрессуйте подшипники 2 с обеих сторон на ось 1 до упора в бурт. Установите ось с подшипниками в отверстия кронштейна 1 ( см. рис. 286 ) катка. Наденьте кольца 11 на наружные кольца подшипников до упора в торцовую фаску кронштейна. Посадите шпонки 8 в шпоночные пазы оси. Установите крышку 9 выточками на цилиндрическую поверхность наружных колец подшипников и закрепите болтами с пружинными шайбами. Момент- затяжки болтов 20...40 Н-м (2...4 кгс-м). Установите в крышку прокладку 3 и кольцо 4 торцового уплотнения, совместив вырезы в прокладке и в кольце со стопором крышки. Наденьте манжету 3 ( см. рис. 287 ) на конусную технологическую оправку, на манжету наденьте пружинное кольцо 1, обойму 5 и пружину 2. Наденьте оправку с манжетой на ступицу ролика и натяните манжету на ступицу ролика. Наденьте на лыски ступицы кольцо 4 торцового уплотнения до упора в манжету. Протрите чистой салфеткой кольца торцового уплотнения и смажьте их тонким слоем трансмиссионного масла. Напрессуйте ролики на ось катка и закрепите их гайками 7 ( см. рис. 286 ) с пружинными шайбами. Момент затяжки гаек 350...450 Н-м (35...45 кгс-м).

Проверьте после сборки каток на герметичность воздухом под давлением 50...70 кПа (0,5...0,7 кгс/см²) в течение 5 с. Допускается падение давления до 20 кПа (0,2 кгс/см²). Воздух подавайте через отверстие для заправки катка смазкой. Заправьте каток трансмиссионным маслом до выхода масла из отверстия. Заверните пробку 10. Момент затяжки пробки 50...80 Н-м (5...8 кгс-м). Проверьте вращение катка. Каток должен свободно без заседаний проворачиваться на оси от руки.

Установка поддерживающих катков Т-170

Ослабьте натяжение гусеницы. Приподнимите верхнюю ветвь гусеницы вилами автопогрузчика около переднего катка и закрепите ее в приподнятом положении.

Установите каток на раму тележки и закрепите его четырьмя болтами с пружинными шайбами. Момент затяжки болтов 220...280 Н-м (22...28 кгс-м). Аналогично установите задний каток. Опустите верхнюю ветвь гусеницы и натяните гусеницы.

Ремонт поддерживающих катков